Instrukcja obsługi Casio G-Shock GMA-S2200
Przeczytaj poniżej 📖 instrukcję obsługi w języku polskim dla Casio G-Shock GMA-S2200 (2 stron) w kategorii Oglądać. Ta instrukcja była pomocna dla 25 osób i została oceniona przez 13 użytkowników na średnio 4.6 gwiazdek
                        Strona 1/2
                    
                    
                    
使 用 手 冊
 3229/3421/3489
Ch-9
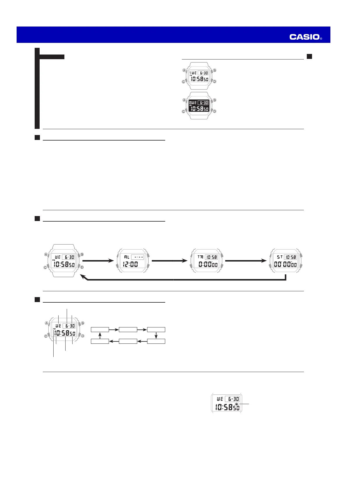
Ԅեఃܗ၍ଷឍൣ
ӶѓϜȂࡹ՟
B
໗ڎយѠһఃڸ၍ଷឍൣѓȄឍൣܼ
ఃޒᄙȂࣻᔗࡿұಓᡘұӶฬαȄ
ឍൣࡿұಓ
x
ޣژ்၍ଷឍൣ࣐ЦȂឍൣࡿұಓᡘұӶܛԥѓޠฬαȄ
x
αᐈձѬښឍൣѓȄϛኈቂڸଊဵޠձȄ
Ch-8
ྲ݃
ྲ݃ᘉ߬ฬȄఃឍൣѓѠٻྲ݃ӶᏄႜȞಒ
Ch-10
ȟȃঈۢᏣᏄႜܗ
ᐍᘉൣቂȄ
x
ณ፤ឍൣѓޠః
/
၍ଷ೪࣐ۢեȂӉեࡹ
D
໗എѠᘉ߬ྲ݃Ȅ
x
ྲ݃ҦႬφᒊӏȞ
EL
ȟᐸҢȂߞٻңࡤڐཽѷџྲ݃ΩȄ
x
စளٻңྲཽ݃ᕼႬԲޠჱڽȄ
x
ؑ࿌ྲ݃ᘉ߬ȂҐКᒽѠཽึяᖑȄԫᖑҦ
EL
ݗᘉ߬ශᡞᆔޠՅ
ҢȂٯϛߓұึҢΠࢉሬȄ
x
ӶޣৣӏίȂྲ݃ޠӏ߬ԥѠᜳпࣽژȄ
x
Ꮔႜۗ༥Ȃࠍྲ݃ՍᅬྟȄ
Ch-7
3.  
࿌ೞᒶᐆȞȟȂࡹ
B
໗ඉ՞࣐Ɇ
00
ɇȄ்Ӷܼ
30
Վ
59
ϟࡹޠ
B
໗ȂࠍӶߖӲɆ
00
ɇޠӤϸђ
1
ȄӶ
00
Վ
29
ϟȂ
ࠍϸϛᡑȄ
4.  
࿌ӉեڐуԆȞϟѵȟೞᒶᐆȞȟȂࡹ
B
໗ѠђτԆȄࡹ՟
B
໗
ѠାഁᡑԆȄ
x
Ϲඳ
12
ϊᇅ
24
ϊښȂ፝ӶԥԆࡹ
D
D
໗Ȅ
5.  
ڸС೪ۢࡤȂࡹ
A
໗ߖӲѓȄ
x
ᐄСՍ೪ۢȄ
x
СѠпӶ
2000
Ԓ
1
У
1
СՎ
2099
Ԓ
12
У
31
Сϟ೪ۢȄ
x
࿌ԥᒶȂ்ϛᐈձӉեࡹ໗စႇϸយȂࠍЦȂٯйКᒽՍ
ߖӲѓȄ
Ch-6
ѓ
Ԅե೪ۢІС
1.  
ӶѓϜࡹ
A
໗Ȅӱೞ
ᒶᐆ
ՅӶฬα
Ȅ
2.  
ࡹ
C
໗ٸίұזᡑᒶȄ
ϸ
У
С
C
C
CC
C
Ԓ
C
ϸ
У
С
ίЀࡿұಓ
Ch-5
C
ᒽѓ
ঈۢᏣѓ
C
x
ӶӉեѓϜໍΠᐈձࡤȂࡹ
C
໗ѠߖӲѓȄ
x
ӶӉཏѓϜȂࡹ
D
໗Ѡᘉ߬ྲ݃ȄӶ்ܺ
D
໗ޠڎយࡤȂྲ݃ᅬྟȄ
Ch-4
ഌ՞ᇴ݃
x
ࡹ
C
໗ѠᒶඳөѓȄ
ѓ
Ꮔႜѓ
CC
Ch-3
ঈۢᏣѓ
 ............................................................................................ Ch-14
Ԅե೪ۢঈ
 ................................................................................. Ch-14
ԄեٻңঈۢᏣ
 .............................................................................. Ch-15
Ԅեఃܗ၍ଷՍፓѓ
 ................................................................ Ch-16
ᒽѓ
 ......................................................................................................Ch-18
Ԅեข໕စႇ
 ................................................................................. Ch-18
ԄեଅᓄϜഋ
  ................................................................................ Ch-19
Ԅեข໕ಒΚӫڸಒΡӫᒶКޠԚ
 ............................................... Ch-19
 ............................................................................................................. Ch-20
ᐈձޤ
 ......................................................................................................Ch-22
ңЙᆱៗߴᎵ
 ...............................................................................................Ch-30
Ch-2
ҭᓄ
ᜱܼҐᇴ݃
 .................................................................................................Ch-1
ഌ՞ᇴ݃
 ........................................................................................................Ch-4
ѓ
 ........................................................................................................Ch-6
Ԅե೪ۢІС
 ................................................................................ Ch-6
Ԅեఃܗ၍ଷឍൣ
 ......................................................................... Ch-9
Ꮔႜѓ
 ......................................................................................................Ch-10
Ԅե೪ۢᏄႜ
 ................................................................................. Ch-11
ԄեЦᏄႜ
  .................................................................................... Ch-13
Ԅեఃܗ၍ଷᏄႜܗᐍᘉൣ
 ............................................................. Ch-13
Ch-1
ᜱܼҐᇴ݃
x
КᒽฬޠНԆᡘұԥҪۼ༄ԆІ༄ۼҪԆڎᆎȂٸКᒽ
ޠဵՅϛӤȄҐᇴ݃ϜޠܛԥጓپฬְпҪۼ༄Ԇ
ߓұȄ
x
ࡹ໗пშϜܛұޠԆҕߓұȄ
x
፝ݨཏȂҐᇴ݃ϜޠКᒽඩშѬକՄձңȂКᒽޠᄃ
ርѵᢏѠཽᇅඩშϜܛұޠԥܛϛӤȄ
Ch
ϜНȞᖆᡞȟ
དᗃ்ᒶᗋћ՚ዊȞ
CASIO
ȟКᒽȄ
࣐ΠٻҐКᒽޠٻңჱڽႁژܛ೪ޠԒȂଡ଼፝ၐಡᎨٯᒴԉҐᇴ݃Ϝޠᇴ
݃ȂЏڐɆᐈձޤɇІɆңЙᆱៗߴᎵɇөϜޠٲȄ
MA2003-ChA
Ú
#!3)/#/-054%2#/,4$
Specyfikacje produktu
| Marka: | Casio | 
| Kategoria: | Oglądać | 
| Model: | G-Shock GMA-S2200 | 
Potrzebujesz pomocy?
Jeśli potrzebujesz pomocy z Casio G-Shock GMA-S2200, zadaj pytanie poniżej, a inni użytkownicy Ci odpowiedzą
Instrukcje Oglądać Casio
                        
                         30 Marca 2025
                        
                    
                                                            
                        
                         19 Stycznia 2025
                        
                    
                                                            
                        
                         5 Stycznia 2025
                        
                    
                                                            
                        
                         21 Grudnia 2024
                        
                    
                                                            
                        
                         21 Grudnia 2024
                        
                    
                                                            
                        
                         21 Grudnia 2024
                        
                    
                                                            
                        
                         21 Grudnia 2024
                        
                    
                                                            
                        
                         21 Grudnia 2024
                        
                    
                                                            
                        
                         21 Grudnia 2024
                        
                    
                                                            
                        
                         21 Grudnia 2024
                        
                    
                                                            Instrukcje Oglądać
- Eurochron
- So & Co
- Misfit
- ETT
- Ascot
- Auriol
- Tauchmeister
- WoodWatch
- HYT
- Nedis
- Obaku
- Jaguar
- Digi-tech
- Prologue
- Beper
Najnowsze instrukcje dla Oglądać
                        
                         26 Marca 2025
                        
                    
                                                            
                        
                         26 Marca 2025
                        
                    
                                                            
                        
                         13 Marca 2025
                        
                    
                                                            
                        
                         13 Marca 2025
                        
                    
                                                            
                        
                         13 Marca 2025
                        
                    
                                                            
                        
                         13 Marca 2025
                        
                    
                                                            
                        
                         13 Marca 2025